Цифрал ОДС

Оборудование
адаптировано для
Российских условий
адаптировано для
Российских условий

Гарантия до 10 лет
на все товары
на все товары
Описание
Описание Цифрал ОДС
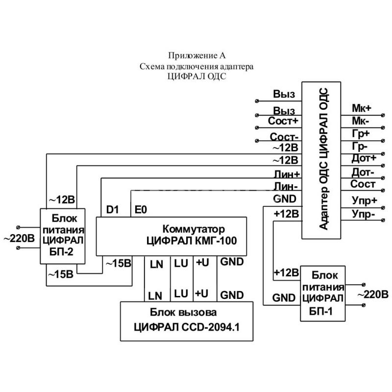
Адаптер Цифрал ОДС предназначен для сопряжения автоматизированных систем диспетчерской связи наиболее распространенных типов (АСУД-248, АСТК-64М, ДС-320,СТК-ПЛАНЕТА) с подъездными домофонами серии «Цифрал CCD-2094.1».
Адаптер Цифрал ОДС обеспечивает полную гальваническую развязку линий связи диспетчерских систем от линий связи домофона.
Устройство выполнено в типовом пластмассовом корпусе.
Функции Цифрал ОДС
- Подача вызова диспетчеру посредством набора определенного номера на блоке вызова «Цифрал CCD-2094.1».
- Громкоговорящая дуплексная связь с автоматическим переключением каналов «прием-передача».
- Возможность дистанционного открытия дверного замка диспетчером.
- Световая индикация вызова и состояния двери.
- Световая индикация наличия напряжений: ~12 В, =12 В.
Технические характеристики Цифрал ОДС
- Напряжение питания: ~12/=12 В.
- Потребляемая мощность, не более: 2 Вт.
- Диапазон рабочих температур: -10…+50°С.
- Габаритные размеры: 180х90х42 мм.
Схема подключения адаптера Цифрал ОДС



