Сигма-ИС КД2 исп.08

адаптировано для
Российских условий

на все товары
Описание Сигма-ИС КД2 исп.08
Сигма-ИС КД2 исп.08 - предназначен для работы в составе интегрированной системы безопасности «ИНДИГИРКА» совместно с БЦП исп. 7У (управляющий) или БЦП исп. 8 прибора приемно-контрольного, охранно-пожарного и управления ППКОПиУ 01059-1000-3 Р-08 и осуществляет контроль и управление доступом на различных объектах.
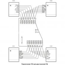
КД2 используется для контроля и управления двумя точками доступа на базе считывателей с иетерфейсом Wiegand-26 (например УСК-02Н) или считывателей с интерфейсом Wiegand-58 (например УСК-02М). КД2 подключается к БЦП исп. 7У (управляющий) или БЦП исп. 8 по линии связи с интерфейсом RS-485 (сетевой режим работы). При потере (обрыве линии RS-485) связи с БЦП КД2 переходит в автономный режим.
Также КД2 обеспечивает:
КД2 обеспечивает совместную работу со считывателями proximity-карт УСК-02H и УСК-02К с выходным интерфейсом Wiegand 26 производства ООО «ВИКИНГ» (рекомендуется) или со считывателями УСК-02М карт ПЭК (Персональных электронных карт военнослужащих), а также карт Mifare с интерфейсом Wiegand26 или Wiegand58. Возможна совместная работа с аналогичными считывателями других производителей.
Технические характеристики Сигма-ИС КД2 исп.08
- Напряжение питания. Базовый вариант, постоянного тока, В 10…28
- Напряжение питания. Вариант с ИБП, переменного тока частотой 50 Гц, В 187 … 242
- Ток потребления , мА, не более 300
- Интерфейсы связи с ППК RS-485
- Количество подключаемых УСК 2 или 4
- Количество кодов идентификатора пользователя (без пинкода), хранящихся в памяти КД2 2000
- Диапазон рабочих температур, °С: (для КД2 исп.08 в корпусе IP20 и исп.08-1) / (для КД2 исп.3 в корпусе IP65) (-10…+50) / (-30…+50)
- Габаритные размеры, мм : - для КД2 исп.08 в корпусе IP20 (базовый вариант) 165x110x32 - для КД2 исп.08 в корпусе IP65 (базовый вариант) 171x145x55 - для КД2 исп.08-1 254 х 245 х 80.





